當前位置:首頁  >  業界新聞  >  Apple 公布全新專利!iPhone Home 鍵或將化身遊戲搖桿?!

Apple 公布全新專利!iPhone Home 鍵或將化身遊戲搖桿?!

2015-01-19
來源:William

   相信許多玩家在智慧型手機上遊戲時,常遇上虛擬搖桿反饋性不佳以及拇指遮到畫面的問題。日前, Apple  公司申請了一項 專利 ,企圖將螢幕下方的主畫面按鈕(俗稱 Home 鍵)改造為「彈出式」的遊戲搖桿,大大增強手機遊戲的操控性。

 
  • image
 
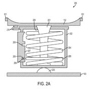
  目前  Apple  裝置內建的 Home 鍵包含喚醒待機狀態、解鎖以及 Touch ID 指紋辨識功能。而美國 專利 及商標局(The US Patent and Trademark Office)於上週四公布了這項名為「多功能輸入裝置(Multi-Function Input Device)」的全新 專利 。未來,Home 鍵除了可能被使用於網路瀏覽及文字處理外,更可能被應用在遊戲操作上。玩家輕壓 Home 鍵後,便會彈出小型搖桿;遊戲後再輕壓按鍵,即可收回 iPhone 及 iPad 中。
 
  • image
  • image
  • image
 
   Apple  在申請書中提到,即便觸碰式螢幕應用在網路瀏覽相當便利,但在遊玩部分遊戲時卻不甚方便,不僅操控性不佳、未能提供觸覺反饋,更可能遮蔽畫面,影響個人遊戲體驗。若這項 專利 應用成真,玩家將可能未來擁有更加媲美掌機的手機遊戲體驗。
Facebook Slider