當前位置:
首頁 >
業界新聞 > 裸視3Diphone有譜?Apple發表立體顯示專利
裸視3Diphone有譜?Apple發表立體顯示專利

2015年5月21日、 Apple 向美國商標專利廳(United States Patent and Trademark Office)提出兩項專利申請,分別是「可同時表現裸眼2D和3D視覺效果的顯示器」和「圓筒形外觀的獨立攜帶型Wi-Fi路由器」。
可同時表現裸眼2D和3D視覺效果的顯示器
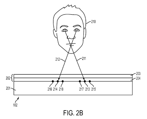
Apple 方面稱呼這項專利申請為「立體互動式影像處理裝置」(Spatially interactive computing device),宣稱若使用此技術,可將螢幕畫面自由從2D切換至3D,或同時間呈現2D和3D視覺效果,同時完全不需配戴如立體眼鏡等週邊裝置。「從2D切換至3D」很容易理解,感覺就跟任天堂3DS主機差不多;不過「同時間呈現2D和3D視覺效果」具體的講是如何的情況目前尚未獲得官方進一步情報。
此外,在這項技術裝置中還提到「多視點映像」的特色,意即一個顯示器呈現的畫面,會依觀看的視角不同而產生變化。這特點是利用多重顯示面板,每層顯示不同的部分畫面再加以重疊而成。
最後,本專利申請中表示將裝設感應使用者視線的自動傳感器,來利用左右眼視差造就更逼真的裸眼3D圖像效果。雖然聽起來很吸引人,只是目前公開情報都處於構想階段,如果未來這項技術會應用到未來的 iphone ,應該未來兩三年內還看不到,不過可以肯定將把 Apple 行動裝置帶往一個前所未有的新高度。